1976 р. Монументальна дерев’яна архітектура лівобережної України
С. Таранушенко
Михайлівська церква, збудована в 1772 р.
[Таранушенко С. Пам’ятки мистецтва старої Слобожанщини. Харків, 1922, табл. XXV;
Нариси історії архітектури Української РСР (Дожовтневий період). Київ, Держбудвидав УРСР, 1957;
Гумилевский Ф. Историко-статистическое описание Харьковской епархии, т. IV, стор. 255]
Церква одноверха. План будови – хрещатий, з восьмигранником в центрі та чотирма шестигранними рукавами по сторонах світу.
Дослідження зрубів стін, заломів і восьмериків показало, що вони цілком зберегли первісну форму.
Церква в Верхньому Бишкині є однією з вершин творчості майстрів лиманської школи. Збудовано церкву з дубових брусів товщиною 15 см. Підлога всередині вимощена каменем-плитняком. Зовні вигляд усіх рукавів однаковий, хоч в плані південний і північний рукави вужчі за вівтар і бабинець (це спостерігається в церкві Покрови в Олешні і в церкві в Воронівці). На церкву у Верхньому Бишкині схожі обидві церкви в Лимані, церква в Заміському, Воронівці та інші, але верх церкви у Верхньому Бишкині пропорційно найвищий і має не два, а три восьмерики. Характер форм восьмериків та заломів, їх пропорції також мають свої особливості; це стосується в першу чергу верху центральної дільниці.
Зруб стін центральної дільниці має невеликий, малопомітний в натурі нахил до середини; висота зрубу стін менша за довжину і ширину плану дільниці. Завдяки широким просвітам-вирізам стіни зрубу центра всередині в нижній частині тісно ув’язано з південним і північним рукавами. Центр і обидва рукави утворюють разом широку, витягнуту з півдня на північ залу, відкриту глядачам від південної грані південного рукава до північної грані північного. Бажаючи підкреслити ширину простору в інтер’єрі, майстер південну і північну грані центрального зрубу стін звів без нахилу всередину, тоді як східна і західна грані дають нахил. Ще більше, ніж зруб стін, витягнуто в ширину форму верху, зокрема восьмериків, особливо першого. Ширину, що дорівнює довжині, верх набуває лише в верхньому четвертому та п’ятому заломах.
Просвіти відкривають простір рукавів до центра повністю від східної до західної граней, бо заплечиків зруби рукавів не мають. На половині висоти просвітів рукавів майстер для зміцнення зрубів залишає по одному брусу-стяжці. Над широким нижнім просвітом рукавів прорізано другий, менший – у вигляді півкола; від нижнього просвіту його відділяє теж один брус. Хоч східний рукав (вівтар) від центра відділяє наглухо іконостас, будівник і в бік вівтаря вирізав точнісінько такий же (лише з невеликими заплечиками) просвіт, як і до південного та північного рукавів. Отже, він мислив в просторовий об’єм будови включити простір вівтаря. Так само тісно пов’язував майстер з центром і бабинець. Згодом в східній частині бабинця з’явилися хори, що своїми кінцями лежать на двох комірчинах, прибудованих при південній та північній стінах бабинця на границі з центром (на креслениках комірки і хори не позначені).
Оформлено завершення й боки просвітів у Верхньому Бишкині стримано, скромно. В основі, оформлення контурів просвітів усіх церков лиманської школи лежить та ж сама схема, але в пізніших пам’ятках вони пишніше оздоблені. Тут в просвітах немає ні тюльпанів, ні рокайльних раковин, таких як в церквах в Лимані. Середина завершення широкого просвіту в Верхньому Бишкині профільована і трохи приспущена, а краї закінчуються волютами. Менший просвіт до бабинця має форму не просто півкола, як в бокових рукавах; його внизу закінчено ледве наміченими в контурі зародками волют.
Невисокий і до того ж понижених (супроти ширини й довжини плану) пропорцій зруб стіни центральної дільниці допомагає виявити могутні величаві форми дуже високого верху. Висота верху більш ніж вдвічі переважає висоту зрубу стін, а ілюзорно вона здається значно більшою. Наростання висоти верху, а разом з тим звуження внутрішнього об’єму проведено в спокійному темпі. Пірамідальний контур верху нагадує абрисом крону тополі.
В інтер’єрі перший залом освітлюється рефлексами, що згасають в напрямку донизу; вгорі він легко переходить у просторий перший восьмерик. Грані залому сприймаються значно вищими, ніж вони є в дійсності. Першому восьмерику в композиції внутрішнього об’єму верху майстер надає особливого значення. Кожна грань його прорізана вікном. А те, що виростає він з залому непомітно (перехід від залому притушовано, границя між ними не впадає різко в око), надає восьмерику особливої легкості, ніби позбавляє його ваги, приховує напружену його роботу, хоч фактично він несе велике навантаження. Сліпучий ореол восьми вікон першого восьмерика робить його композиційним осередком, що поділяє об’єм центральної дільниці на дві частини: більш інертну нижню і більш рухливу і витончену у формах – верхню.
Ритмічне відношення площі плану першого восьмерика до площі плану зрубу стін є тим розміреним кроком, якого майстер додержує і в наступних вище ділянках верху. Обміри показали, що боки першого, другого, третього і п’ятого заломів – одного розміру, але ми бачимо їх на різній висоті і під різними кутами зору, тому вони здаються різними. Чим вище здіймається вгору верх, тим активніше вступають в оформлення його заломи, їх переливчасте освітлені грані. В той же час роль восьмериків, що повинні на певних етапах переривати висхідний рух похилих елементів (заломів), зменшується. Другий і особливо третій восьмерики сприймаються щоразу під все гострішим кутом, все в більшому ракурсі, і їх форма на вигляд все більше наближається до форми заломів. Об’єми восьмериків виділяються вікнами і інтенсивним, порівняно з заломами, освітленням. Темп розгортання об’єму верху в напрямку вверх визначається особливим ритмом в чергуванні заломів і восьмериків, світловим «ліпленням» компонентів об’єму і, нарешті, розмежуванням, поділом простору трьома вінцями ригелів. Нижній ряд ригелів відділяє зруб стін від першого залому; другий ряд ригелів закладено при переході першого восьмерика у другий залом; третій ряд ригелів позначає границю між другим восьмериком і третім заломом. Ригелі відіграють роль орієнтирів для ока глядача при переводі погляду від початку першого залому до найвищої точки верху.
В композиції об’єму пам’ятки виявилися характерні риси таланту майстра. Його творчість характеризується виявленням яскравих емоцій, що спираються на точні і тонкі розрахунки і базуються на досконалій обізнаності майстра з законами архітектоніки, на використанні досвіду і здобутків монументальної творчості своїх попередників.
Ще яскравіше виявлено центричність композиції мас у зовнішньому вигляді пам’ятки. При огляді церкви з усіх боків вона виглядає досконалою, завершеною. При заміні ґонту залізом церква втратила багато привабливості. Форми дахів зрубів стін і заломів огрубіли. Безперечно, змінено і форму ліхтаря, дуже вже він не в’яжеться навіть з сучасними формами верху.
Відносно невисокі зруби стін вівтаря і бабинця та південного і північного рукавів щільно ув’язані зі зрубом стін центральної дільниці і утворюють монолітну масу, над якою в центрі підноситься верх будови.
Якщо в інтер’єрі в організації об’єму верху активну роль відігравали заломи, то у зовнішньому вигляді домінуючого значення набувають восьмерики. Саме вони визначають ритм композиції верху. Зовнішній вигляд будови, як і внутрішній, характеризується такими ж величавими, спокійними ритмами розгортання мас у просторі.
Одвірки церкви з чільного боку різьблені. На лутках внизу вирізьблено зображення миски, з якої виростає виноградна лоза з гронами й листям; в центрі віршня вміщено різьблену коронку.
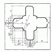
Вихідний розмір в побудові плану – довжина центральної дільниці. Схема плану під час розбивки в натурі трохи деформована; зокрема, випнувся південно-східний кут плану центра.
Центр будови задумано як квадрат з відсіченими кутами, бабинець і вівтар – як квадрати з відсіченими зовнішніми кутами. Довжина вівтаря разом з половиною довжини центра дорівнює діагоналі половини квадрата, в який вписується восьмикутник центра. Бабинець більший за вівтар; його довжина і ширина дорівнюють половині діагоналі квадрата, в який вписується план центральної дільниці. Південний і північний рукави в плані – чотирикутники з відсіченими зовнішніми кутами, їх ширина дорівнює ширині вівтаря, а довжина – половині ширини центра.
Розміри зрубів стін, восьмериків і заломів визначаються розмірами плану.
Висота зрубу стін центральної дільниці дорівнює півсумі довжини плану бабинця і центра (або апофемі рівностороннього трикутника з стороною, що дорівнює довжині центра).
Верх центральної дільниці вдвічі вищий за зруб стін і дорівнює довжині плану центра і бабинця, разом взятих.
Сума висоти першого залому і зрубу стін дорівнює ширині плану центра (вгорі), або висота першого залому дорівнює 1/5 довжини зрубу стін (вгорі).
Перший восьмерик мав довжину, яка дорівнює довжині плану вівтаря, ширину, що дорівнює висоті зрубу стін, висоту, що дорівнює 1/3 довжини зрубу стін (вгорі), а разом з висотою першого залому висота восьмерика – половина довжини плану центра.
Висота другого залому дорівнює висоті першого залому, а висота другого залому, першого восьмерика і першого залому – довжині плану бабинця.
Висота верху дільниці до початку третього залому дорівнює ширині плану центра.
Висота третього залому дорівнює висоті другого й першого заломів, а висота третього залому і другого восьмерика разом дорівнює довжині другого восьмерика. Висота верху до початку третього восьмерика дорівнює подвоєній ширині плану південного рукава.
Висота третього восьмерика дорівнює висоті третього залому. Висота верху до початку четвертого залому дорівнює подвоєній довжині плану бабинця,
Висота четвертого залому, третього восьмерика та другого залому разом дорівнює довжині плану дільниці.
Висота останнього залому дорівнює повній довжині того ж залому. Внутрішня висота верху центральної дільниці дорівнює сумі довжини плану центра і бабинця.
Внутрішня висота центральної дільниці на 1,5 м перевищує довжину плану будови.
Можна відзначити ще такі взаємозв’язки й співвідношення компонентів будови: довжині плану центра дорівнює висота верху, з другого восьмерика починаючи. Ширині плану центра дорівнюють: частина верху, починаючи з першого залому і кінчаючи другим восьмериком; частина верху, починаючи з першого залому і кінчаючи третім заломом; висота зрубу стін і першого залому, разом взятих. Половині довжини плану будови дорівнює висота верху, починаючи з другого залому.
Взявши за основу трикутника ширину плану центральної дільниці, а за сторони – половину ширини плану будови, побачимо, що вершина цього рівностороннього трикутника досягне низу вікна першого восьмерика. При тій же основі вершина трикутника з сторонами, що дорівнюють ширині плану центра і одного бокового рукава, досягне низу вікон другого восьмерика. У трикутника, основа якого є ширина плану будови, а сторони – довжина плану будови, вершина припадає на низ вікна третього восьмерика.
Висота зрубів стін вівтаря, бабинця, південного й північного рукавів дорівнює 1/4 довжини плану будови, а внутрішня їх висота (з верхом) – діагоналі південної половини плану бабинця.
Вікна в зрубах стін і восьмериків розміщено так. Нижній ряд вікон в зрубах стін закладено на висоті, що дорівнює половині довжини південної грані плану бабинця. Вікна в першому восьмерику закладено на висоті 1/4 довжини зрубу стін центра (вгорі) над верхнім вінцем зрубу стін. На такій же висоті закладено вікна в другому восьмерику над верхнім вінцем зрубу першого восьмерика і вікна в третьому восьмерику над верхнім вінцем другого восьмерика.
В церкві Михайла лиманський тип досягнув високого ступеня розвитку: план має 32 грані, внутрішня висота 24 м, верх складається з 5 заломів і 3 восьмериків.
[Таранушенко С.А. Монументальна дерев’яна архітектура лівобережної України. – К.: 1976 р., с. 98 – 104]
